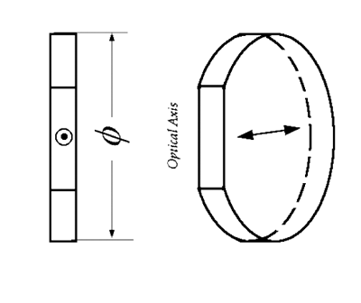
波長板は複屈折を示す材料で作られています。複屈折材料を通過する異常光線と常光線の速度は、その屈折率に反比例して変化します。この速度差により、2 つのビームが再結合するときに位相差が生じます。入射直線偏光ビームの場合、これは ɑ=2πd(ne-no)/ λ で与えられます。ここで、 は位相差です。 dは波長板の厚さです。ne、no はそれぞれ異常光線と常光線の屈折率です。 λ は波長です。特定の波長では、位相差はリターダーの厚さによって決まります。
Casix 波長板は、さまざまな偏光状態の光の合成と分析に広く使用されています。 CASIXでは240nm~2100nmの範囲の波長を全てご用意しております。

低次波長板
• 厚さ: 0.2-0.5mm
• 高いダメージ閾値
• より良い温度帯域幅
• 低コスト

性能:
| 仕様 | スタンダード | ハイプレシジョン |
| 材料 | クリスタルクォーツ、MgF2 | クリスタルクォーツ、MgF2 |
| サイズ公差 | +0, -0.13mm | ±0.02mm |
| 波面歪み | λ/8@632.8nm | λ/20@632.8nm |
| リタデーション許容差 | λ/120 measured at 632.8nm | λ/300 measured at 632.8nm |
| 波長範囲 | 240~2100nm | 240~2100nm |
| 平行度 | 3 arc seconds | 0.6 arc seconds |
| 表面欠陥 | 20-10 | 10-5 |
| AR/AR コーティング | 中心波長で R<0.2% | 中心波長で R<0.1% |
理论性的阻滞曲线

ゼロ次波長板
接着および光学接触ゼロ次波長板
• ダブルプレート
• 広いスペクトル帯域幅
• 広い温度帯域幅
• ARコート

性能 :
| 仕様 | スタンダード | ハイプレシジョン |
| 材料 | クリスタルクォーツ | クリスタルクォーツ |
| サイズ公差 | +0, -0.2mm | ±0.05mm |
| 波面歪み | λ/4@632.8nm | λ/10@632.8nm |
| リタデーション許容差 | λ/120 measured at 632.8nm | λ/300 measured at 632.8nm |
| 波長範囲 | 400~2100nm | 240~2100nm |
| 平行度 | 3 arc seconds | 0.6 arc seconds |
| 表面欠陥 | 20-10 6 | 10-5 |
| AR/AR コーティング | 中心波長で R<0.2% | 中心波長で R<0.1% |
空隙ゼロ次波長板
• 二重位相差板
• 広い温度帯域幅
• 広いスペクトル帯域幅
• 高いダメージ閾値
• ARコーティングおよび実装

性能:
| 仕様 | スタンダード | ハイプレシジョン |
| 材料 | クリスタルクォーツ | クリスタルクォーツ |
| サイズ公差 | +0/-0.2mm | ±0.05mm |
| 波面歪み | λ/4@632.8nm | λ/10@632.8nm |
| リタデーション許容差 | λ/120 measured at 632.8nm | λ/300 measured at 632.8nm |
| 波長範囲 | 240~2100nm | 240~2100nm |
| (シングルプレート) | 3 arc seconds | 0.6 arc seconds |
| 表面欠陥 | 20-10 | 10-5 |
| AR/AR コーティング | 中心波長で R<0.2% | 中心波長で R<0.1% |
真のゼロ次波長板
性能:
| 仕様 | スタンダード | ハイプレシジョン |
| 材料 | クリスタルクォーツ,N-BK7 | クリスタルクォーツ,N-BK7 |
| サイズ公差 | +0/-0.13mm | ±0.02mm |
| 波面歪み | λ/8@632.8nm | λ/20@632.8nm |
| リタデーション許容差 | λ/120 measured at 632.8nm | λ/300 measured at 632.8nm |
| 波長範囲 | 240~2100nm | 240~2100nm |
| 平行度 | 3 arc seconds | 1 arc seconds |
| 表面欠陥 | 20-10 | 10-5 |
| AR/AR コーティング | 中心波長で R<0.2% | 中心波長で R<0.1% |
接合された真のゼロ次波長板
• 広いスペクトル帯域幅
• 広い温度帯域幅
• 広角帯域幅
• エポキシによる接着

単板真のゼロ次波長板
• 広いスペクトル帯域幅
• 広い温度帯域幅
• 広角帯域幅
• 高いダメージ閾値
• 標準波長:1310nm、1550nm
• λ/2波長板
• 厚みは0.028mmまで

アクロマティック波長板
アクロマート波長板は、2 つの板がクリスタルクォーツやフッ化マグネシウムなどの異なる材料で作られている点を除けば、ゼロ次波長板と似ています。複屈折の分散は 2 つの材料で異なる可能性があるため、波長範囲での位相差値を指定することが可能です。したがって、得られる波長板のリターデーションは、波長変化に対する感度を低くすることができる。
2 枚の板の接触方法に基づいて、色消し波長板は 2 つのタイプに分類されます: エアスペース型とセメント型です。

性能:
| 仕様 | スタンダード | ハイプレシジョン |
| 基板材料 | クリスタルクオーツ、MgF2 | クリスタルクオーツ、N-BK7 |
| サイズ公差 | +0/-0.2mm | ±0.05mm |
| 波面歪み | λ/4@632.8nm | λ/8@632.8nm |
| リタデーション許容差 | λ/50@700nm~1000nm (NIR) | λ/100@700nm~1000nm (NIR) |
| 波長範囲 | 400~2100nm | 400~2100nm |
| 平行度(単板) | 3 arc seconds | 1 arc seconds |
| 表面欠陥 | 40-20 | 10-5 |
| 標準波長 | 可視光:465nm~610nm 近赤外:700nm~1000nm 赤外スペクトル:1200nm~1650nm | 可視光:465nm~610nm 近赤外:700nm~1000nm 赤外スペクトル:1200nm~1650nm |

